Carrito
No hay más productos en tu carrito
Interruptores - Fusibles - Sensores
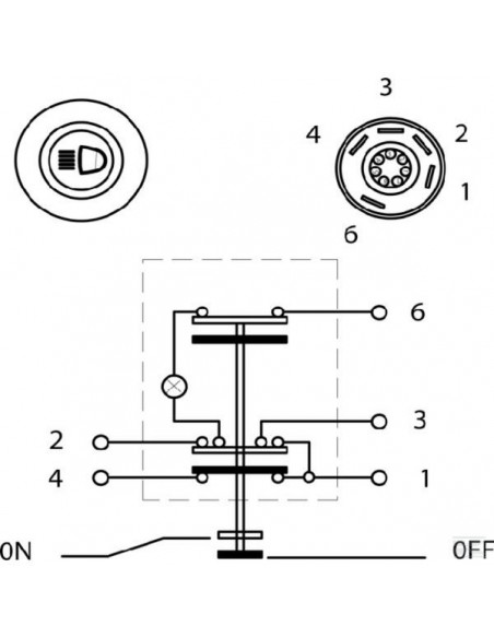
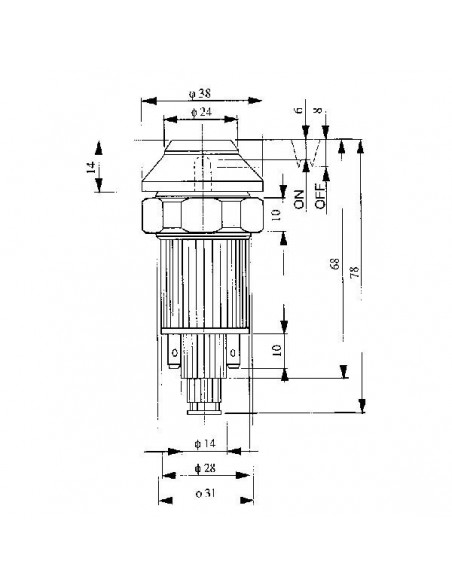
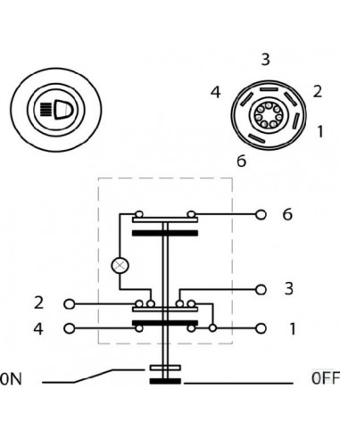
11100080PN - Interruptor de Intermitencias 12 Voltios
11100080PN
23,75 €
20,19 €
Interruptor de Intermitencias 12 Voltios.
